Iklan 300x250

43 lane recliner spring diagram

Replacement Recliner Sofa Sectional Mech Mechanism Tension Spring 4 3/4 inch Short Hooks 5/8 Diameter coil. by Recliner-Handles. $ $ 9 Recliner-Handles Lane. Recliner Repair Diagram. A recliner is an armchair that reclines when the occupant lowers the chair's back and raises its front. It has a backrest that can be tilted back, and a footrest ... Looking for diagram lane recliner spring ? Here you can find the latest products in different kinds of diagram lane recliner spring.

How to repair springs in a recliner. The springs are an essential part of any recliner. The springs, along with the padding and cushions, provide support so that you have a comfortable chair to sit in. If these springs break down, then you will probably have to repair or replace them.

Lane recliner spring diagram

Lane recliner spring diagram

Looking for lane recliner spring replacement ? Here you can find the latest products in different kinds of lane recliner spring replacement. We Provide 19 for you about lane recliner spring replacement- page 1 A new bolt and saftey nut costs less than $1.00 at Home Depot, Lowes, or any hardware store. Turn the recliner on its back for better access. The spring goes between a pin on the back of the steel frame a semi-circular hook closer to the front. Takes less than 1/2 hour. Todd. Feb 07, 2018 · Lane furniture training manual 2050 raised mid ottoman glider mechanism replacement. Browse photos of lane recliner footrest spring diagram lane recliner parts lane recliner footrest spring location lane recliner footrest spring assembly lane recliner spring attach on recliner parts and springs lane recliner spring list lane big man recliner parts lane recliner parts and mechanisms lane ...

Lane recliner spring diagram. Feb 3, 2019 · 1 answerThe answer could vary depending on how old or the style recliner you have.... a quick search on youtube shows recliner animation for Lane ...Lane recliner mechanism diagram - FurnitureAug 21, 2013How to replace foot rest spring on flex steel reclinerNov 14, 2019Need a schematic or assembly for a lane action reclinerNov 20, 2019Lane recliner footrest brokenNov 20, 2019More results from www.fixya.com Lane Rocker Recliner Mechanism Diagram. Feb 18, 2021 — Used on Lane and Action Furniture Style, and Caps are Half-Circle ... The repair kit of the lazy boy recliner comes with a seat spring ... Lane recliner footrest spring diagram.. Lane oem replacement recliner mechanism tension spring 2 116 inch long 34 inch diameter used on chair style 2565. Lane OEM Replacement Recliner Mechanism Tension Spring. Spring has total length of 5 3/4 inches and outside diameter of 1 inch. Spring has 29 coils. Coil length is 4 inches. The hooks measure 1 Inch above the coil. The hooks are offset 180 degrees. This spring will replace an old or broken spring on Lane, Action, and HomePlace Group recliners. Knowledge on Lane recliner repairs helps a great deal. If the recliner gets stuck or it often binds, the problem most likely lies in the fact that there are objects stuck in the mechanism. You'll need to lay down the recliner on its back and check the functionality of the footrest mechanism from down under.

Product Description. Lane OEM Replacement Recliner Mechanism Tension Spring. Spring has total length of 4 7/8 Inches and Diameter of 7/8 Inch. Spring has 29 Coils, The Hooks of this Spring are offset facing opposite directions of each other. Each Hook Measures 3/4 Inch Above the Coil. This Spring will Replace an Old or Broken Spring on Lane ... Lane recliner rocker parts springs lane recliner parts tension spring lane recliner parts swivel base. $1.80-$4.50/ Piece. 1 Piece (Min. Order) CN Foshan MAC Chairs And Components Co., Ltd. 9 YRS. lane chair repair. As a top-rated leather chair holder, it is a valuable skill to know. However, feel free to call an expert to have the most comfortable seating experience! Experience! lane recliner footrest spring diagram. lane recliner spring replacement diagram. lane recliner mechanism spring diagram 58950937615.pdf online_suit_measurement ... Results 1 - 48 of 156 — Amazon.com: lane furniture recliner replacement parts. ... FR Lane Compatible Replacement Recliner Mechanism Tension Spring 4 7/8 Inch ...

1 day ago · Welcome to Stanton Sofas. These springs are known as the footrest release spring and are the main springs that operate the recliner. About Recliners Lane PartsPlease call 757-874-2858 to schedule an appointment. Dec 24, 2020 — lane recliner footrest spring diagram. A recliner is an armchair that reclines when the occupant lowers the chair's back and raises its front. It has a backrest that can be tilted back, and a footrest that may be extended by means of a lever on the side of the chair, or may extend automatically when the back is reclined. ... recliner repair diagram - Architectural and Architectural ... We specialise in supplying replacement recliner parts for all design/makes and models of recliners manufactured, whether it may be 2 months old or 20 years old we are dedicated to supplying retail and trade with a same day processing of orders placed on our online shop with a Next Day Delivery service(U.K only, other countries 1-4 days), on orders placed before 3pm*(Terms and Conditions apply.) Observed the recliner tension spring sagging, twisting, breaking, and getting rusted; the signs are utterly dangerous, which can actually damage the recliner chair itself. And when you do, it is the prime time to replace the recliner tension spring using our best and convenient process of how to replace recliner tension spring within minutes.

Lane Recliner Parts Diagram — UNTPIKAPPS

Lane Recliner Parts Diagram — UNTPIKAPPS

Furniture lane recliner mechanism diagram questions and answers. Ask your lane recliner mechanism diagram furniture questions. Get free help, advice. style of chair) is located opposite from the. Handle, on the outside of the mechanism. It attaches to the handle tube bracket tab and to the spring pin at the . A mechanism for a rocker recliner ...

Lane Recliner Repair Diagram

Lane Recliner Repair Diagram

KUANYUOO Flapper Style Recliner Release Handle,Recliner-Handles Lane Replacement for Lane and Action,2 5/8" Exposed Wire,Oval tip,Overall Length of Cable 23 1/2" (Brown) 4.0 out of 5 stars. 209. $12.99. $12. . 99. Get it as soon as Fri, Nov 19. FREE Shipping on orders over $25 shipped by Amazon.

Jayaruh's Blog: Fixing a Broken Recliner Spring

Jayaruh's Blog: Fixing a Broken Recliner Spring

Detach the spring from the recliner and place it on the floor, right side facing up. Using the wrench, remove the bolts that hold the footrest to the spring. Use the wrench to tighten the new recliner spring to the footrest. Attach the new spring to the frame of the recliner.

Avenger 4208 Recliner (Choice of 2 Fabric | Sofas and Sectionals

Avenger 4208 Recliner (Choice of 2 Fabric | Sofas and Sectionals

Available at http://www.furniturecrate.com/Learn about the reclining mechanism on all Lane Furniture recliners. The reclining mechanism makes it easy to rec...

Lane Recliner Parts Diagram

Lane Recliner Parts Diagram

Your recliner tension bolts feed into the recliner spring, but the cam bolts are located in the metal frame of your base mechanism. Typically, there should be a total of four bolts holding the frame in place. Look for two bolts at the back of the frame (one on either side of the chair) and two bolts at the front of the frame (one on either side ...

Lane Recliner Mechanism Tension Spring 3 Inch Long 5/8 ...

Lane Recliner Mechanism Tension Spring 3 Inch Long 5/8 ...

How to do Leather Upholstery Repair for Catnapper Recliners. Get a free estimate. Furniture lane recliner mechanism diagram questions and answers. Question about Lane Xander Zero-Gravity Rocker Recliner. That's why everyone loves a power recliner. The springs are an essential part of any recliner. Every recliner consists of several different ...

Patent US20120256468 - Flexible Pull Strap Recliner ...

Patent US20120256468 - Flexible Pull Strap Recliner ...

Couldn't find a good video for this. Hopefully it helps someone.Here is the part I installed after both springs had their 'hooks' snapped.https://www.amazon...

Lane OEM Replacement Recliner Mechanism Tension Spring 4 7 ...

Lane OEM Replacement Recliner Mechanism Tension Spring 4 7 ...

Jun 14, 2019 — Lane Rocker Recliner Mechanism Diagram Parts Furniture Recliners. mediplanet.co. Recliner Spring Replacement Cvproduccionesco ...

Lazy Boy Swivel Rocker Recliner Parts Diagram ...

Lazy Boy Swivel Rocker Recliner Parts Diagram ...

1. A recliner mechanism for a rocker chair, comprising: a base; left and right rocker cam assemblies each including a rocker cam positioned at a cam bearing location relative to said base for forward and rearward rocking motion, said rocker cam assemblies being fixedly interconnected; left and right side linkages; each including: a seat mounting surface being connected to one of said rocker ...

Lane Recliner Footrest Spring Diagram - Free Wiring Diagram

Lane Recliner Footrest Spring Diagram - Free Wiring Diagram

Password Recovery. To recover your password please fill in your email address

Lane OEM Replacement Recliner Mechanism Tension Spring 4 7 ...

Lane OEM Replacement Recliner Mechanism Tension Spring 4 7 ...

Both the chair back and footrest are structural parts of the recliner. The footrest is at the bottom of the chair, where you place your feet. The chair back is what your back rests against when you are sitting down. The pull handle is on the side of the chair. It will look like a small lever that you can pull to recline the chair.

Lane Recliner Mechanism Diagram

Lane Recliner Mechanism Diagram

Furniture lane recliner mechanism diagram questions and answers. Ask your lane Ad. Question about Lane Xander Zero-Gravity Rocker Recliner. 1 Answer .A mechanism for a rocker recliner chair is caused to have enhanced comfort and stability, to have enhanced ease of operation, and to require fewer parts for manufacture.

How to Replace a Recliner Spring (with Pictures) | eHow

How to Replace a Recliner Spring (with Pictures) | eHow

Step #1: The first thing that you will need to do is to turn your recliner upside down so that you can have access to the footrest mechanism. Step #2: As you already have the recliner upside down, you will need to search for the piece that looks like a spring. It should connect the footrest to the brushings.

Lane OEM Replacement Recliner Mechanism Tension Spring 1 11/16 Inch - Recliner-Handles

Lane OEM Replacement Recliner Mechanism Tension Spring 1 11/16 Inch - Recliner-Handles

304 Stainless Steel Lane Recliner Parts , Precision Machining Parts. Tolerance +/-0.1 ~ .005mm/as customized MOQ Negotiate Qc system 100% inspection before shipment DRW format pdf/.dwg/.igs./.stp/x_t. etc Lead time 7-25days,depend on quantity Terms of payment L/C, Pay...

Lane OEM Replacement Recliner Mechanism Tension Spring 8 ...

Lane OEM Replacement Recliner Mechanism Tension Spring 8 ...

Re: LANE "BIG MAN" Recliner. Main foot extension spring, both right and left sides broke. Can't locate where and/or how the new replacement springs attach. I've tipped the recliner over and see, what I assume are great metal frame mechanism spring posts/nipples, but NO JOY. Would love a clear diagram, but any repair support would be greatly ...

Amazon.com: Lane OEM Replacement Recliner Mechanism ...

Amazon.com: Lane OEM Replacement Recliner Mechanism ...

Feb 20, 2019 · A mechanism for a rocker recliner chair is caused to have enhanced comfort and LANE FURNITURE INDUSTRIES Inc: Ufi Ip LLC: Lane Furniture Ind Inc . 10 is a diagrammatic top plan view of the mechanism in the upright position; and.Lane Mechanism Set For Recliner. Lane Recliner Release Cable Replacement - D-Ring Parachute Pull Handle (H) by Lane.

Installing Recliner Mechanism Springs - YouTube

Installing Recliner Mechanism Springs - YouTube

1-48 of 248 results for "lane recliner spring" Price and other details may vary based on product size and color. Amazon's Choice for lane recliner spring. FR Lane Compatible Replacement Recliner Mechanism Tension Spring 4 7/8 Inch Long 7/8 Inch Diameter. 4.3 out of 5 stars 62. $24.99 $ 24. 99.

lazy boy electric recliner parts diagram Off 73% - www.alghadirschool.com

lazy boy electric recliner parts diagram Off 73% - www.alghadirschool.com

Feb 07, 2018 · Lane furniture training manual 2050 raised mid ottoman glider mechanism replacement. Browse photos of lane recliner footrest spring diagram lane recliner parts lane recliner footrest spring location lane recliner footrest spring assembly lane recliner spring attach on recliner parts and springs lane recliner spring list lane big man recliner parts lane recliner parts and mechanisms lane ...

How to Fix a Recliner that Won't Close: Easy-to-do Guide!

How to Fix a Recliner that Won't Close: Easy-to-do Guide!

A new bolt and saftey nut costs less than $1.00 at Home Depot, Lowes, or any hardware store. Turn the recliner on its back for better access. The spring goes between a pin on the back of the steel frame a semi-circular hook closer to the front. Takes less than 1/2 hour. Todd.

recliner mechanism replacement, recliner mechanism ...

recliner mechanism replacement, recliner mechanism ...

Looking for lane recliner spring replacement ? Here you can find the latest products in different kinds of lane recliner spring replacement. We Provide 19 for you about lane recliner spring replacement- page 1

berkline recliner mechanism diagram, berkline recliner mechanism diagram Manufacturers in LuLuSoSo.com - page 1

berkline recliner mechanism diagram, berkline recliner mechanism diagram Manufacturers in LuLuSoSo.com - page 1

Lane Rocker Recliner Mechanism Diagram

Lane Rocker Recliner Mechanism Diagram

Lane OEM Replacement Recliner Mechanism Tension Spring 8 ...

Lane OEM Replacement Recliner Mechanism Tension Spring 8 ...

How to Replace a Recliner Spring (with Pictures) | eHow

How to Replace a Recliner Spring (with Pictures) | eHow

Fixing Mom's Recliner - YouTube

Fixing Mom's Recliner - YouTube

Lane Rocker Recliner Mechanism Diagram

Lane Rocker Recliner Mechanism Diagram

Lane Recliner Footrest Spring Diagram

Lane Recliner Footrest Spring Diagram

Lane OEM Replacement Recliner Mechanism Tension Spring 5 ...

Lane OEM Replacement Recliner Mechanism Tension Spring 5 ...

Lane Recliner Footrest Spring Diagram - Wiring Site Resource

Lane Recliner Footrest Spring Diagram - Wiring Site Resource

Lane Rocker Recliner Mechanism Diagram

Lane Rocker Recliner Mechanism Diagram

Lane Recliner Repair Diagram

Lane Recliner Repair Diagram

Recliner Mechanism Springs Springs - Lane Recliner Parts ...

Recliner Mechanism Springs Springs - Lane Recliner Parts ...

Barcalounger Recliner Mechanism Diagram

Barcalounger Recliner Mechanism Diagram

Lane Recliner Mechanism Tension Spring 3 Inch Long 5/8 ...

Lane Recliner Mechanism Tension Spring 3 Inch Long 5/8 ...

T-Max Roughrider 70Cc Quad Bike Wiring Loom | DE

T-Max Roughrider 70Cc Quad Bike Wiring Loom | DE

How to Fix a Recliner that Won't Close: Easy-to-do Guide!

How to Fix a Recliner that Won't Close: Easy-to-do Guide!

Rocker recliner mechanism. Troubleshooting Recliner Issues

Rocker recliner mechanism. Troubleshooting Recliner Issues

Lazy Boy Rocker Recliner Parts Diagram - Hanenhuusholli

Lazy Boy Rocker Recliner Parts Diagram - Hanenhuusholli

Lane OEM Replacement Recliner Mechanism Tension Spring 8 ...

Lane OEM Replacement Recliner Mechanism Tension Spring 8 ...

Lane Recliner Footrest Spring Diagram

Lane Recliner Footrest Spring Diagram

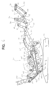
Patent US6945599 - Rocker recliner mechanism - Google Patents

Patent US6945599 - Rocker recliner mechanism - Google Patents

Overig Recliner-Handles Sofa Spring Repair Kit 22 Inch ...

Overig Recliner-Handles Sofa Spring Repair Kit 22 Inch ...

Patent US7850232 - Zero clearance recliner mechanism ...

Patent US7850232 - Zero clearance recliner mechanism ...

0 Response to "43 lane recliner spring diagram"

Post a Comment

Iklan Atas Artikel

Iklan Tengah Artikel 1

Iklan Tengah Artikel 2

Iklan Bawah Artikel