Iklan 300x250

43 weed eater carb diagram

sebastian-goers.de › briggs-and-stratton-intek-governorsebastian-goers.de Step 2: Move throttle linkage. The carb is a Nikki and the "jet" is located in a strange spot. 5 hp engine number 121602. 42-in Zero-Turn ebay. Loosen governor lever bolt and nut (A). 5 TP INTEK OHV MTD taper 2-23/32" Shaft #15T212-0008 BNE PRICE: 9. Husqvarna 18h hedge trimmer manual - United States ... SR600-2. The Husqvarna 122HD60 is a compact and lightweight petrol hedge trimmer for domestic use, with easy to use functions such as Smart Start®, and the benefit of a low noise engine. With an adjustable rear handle this small hedge trimmer with 59cm blade makes easy work of cutting sides and tops of hedges.

mendedspace.us › troy-bilt-jumpstart-hackmendedspace.us 2 days ago · May 24, 2021 · Troy bilt 4 stroke weed eater jump start feature hack pdf - hp 2 stroke manual ebook GET; repair manual montana troy bilt horse manual download ebook GET; download suzuki rm85 rm 85 rm 85 and nomad 55 ebook GET; nikon d50 jumpstart guides to nikon d50 a tutorial ebook GET; jobmate weed eater manualkawasaki weed eater View online ...

Weed eater carb diagram

Weed eater carb diagram

EOF Air filter for the compressor with their own hands ... Remove the rubber gasket from the old filter, install it on the carburetor, and attach our box on top. Put a sponge on top of the gauze in the box and wring it out. We close the lid of the box and fasten. On the top of the box of our self-made filtering device put on a simple woman's stocking, it should not touch the carburetor.

Weed eater carb diagram. Air filter for the compressor with their own hands ... Remove the rubber gasket from the old filter, install it on the carburetor, and attach our box on top. Put a sponge on top of the gauze in the box and wring it out. We close the lid of the box and fasten. On the top of the box of our self-made filtering device put on a simple woman's stocking, it should not touch the carburetor. EOF

Diagram And/or PartsList F2020 Homelite String Trimmer Parts ...

Diagram And/or PartsList F2020 Homelite String Trimmer Parts ...

Murray M2500 Weed Eater Carburetor Replacement | Weed Eater Won't Run FIX!

Murray M2500 Weed Eater Carburetor Replacement | Weed Eater Won't Run FIX!

How to rebuild a line trimmer carburetor | Repair guide

How to rebuild a line trimmer carburetor | Repair guide

Ryobi weed eater carburetor work: common problem

Ryobi weed eater carburetor work: common problem

How to rebuild a line trimmer carburetor | Repair guide

How to rebuild a line trimmer carburetor | Repair guide

Craftsman trimmer fuel line diagram | My Tractor Forum

Craftsman trimmer fuel line diagram | My Tractor Forum

Weed Eater FL 21 - Weed Eater Featherlite String Trimmer ...

Weed Eater FL 21 - Weed Eater Featherlite String Trimmer ...

Durable Carburetor Carb 2500 25cc Chainsaw Zenoah G2500 Universal Fit More  Chinese Brand & STIGA AMA Anova Pruner Top Handle Saw

Durable Carburetor Carb 2500 25cc Chainsaw Zenoah G2500 Universal Fit More Chinese Brand & STIGA AMA Anova Pruner Top Handle Saw

How to rebuild a line trimmer carburetor | Repair guide

How to rebuild a line trimmer carburetor | Repair guide

HUZTL C1Q-S97 Carburetor for FS38 FS45 FS46 FS55 KM55 HL45 FS45L FS45C  FS46C FS55C FS55R FS55RC FS85 FS80R FS85R FS85T FS85RX String Trimmer Weed  ...

HUZTL C1Q-S97 Carburetor for FS38 FS45 FS46 FS55 KM55 HL45 FS45L FS45C FS46C FS55C FS55R FS55RC FS85 FS80R FS85R FS85T FS85RX String Trimmer Weed ...

String Trimmer (Strimmer) Won't Work: 2-Stroke Engine and ...

String Trimmer (Strimmer) Won't Work: 2-Stroke Engine and ...

WT 629 1 Carburetor Carb For Walbro WT 629 Poulan Gas Trimmer ...

WT 629 1 Carburetor Carb For Walbro WT 629 Poulan Gas Trimmer ...

Weedeater Parts | Weedeater Featherlite

Weedeater Parts | Weedeater Featherlite

Cover 20

Cover 20

Shindaiwa T20, LT20 and C20 Trimmer Parts Diagrams ...

Shindaiwa T20, LT20 and C20 Trimmer Parts Diagrams ...

Poulan / Weed Eater PP335 - Poulan Pro Chainsaw CARBURETOR ...

Poulan / Weed Eater PP335 - Poulan Pro Chainsaw CARBURETOR ...

Buy Dalom 753-04408 Carburetor w Air Filter Fuel Line for MTD ...

Buy Dalom 753-04408 Carburetor w Air Filter Fuel Line for MTD ...

Weedeater Parts | Weedeater Featherlite

Weedeater Parts | Weedeater Featherlite

Weed Eater HP30SB Gas Trimmer

Weed Eater HP30SB Gas Trimmer

Weed Eater GTI 17 - Weed Eater String Trimmer CARBURETOR WA ...

Weed Eater GTI 17 - Weed Eater String Trimmer CARBURETOR WA ...

Dan's Motorcycle

Dan's Motorcycle

Weed Eater Gas Hedge Trimmer | GHT180 | eReplacementParts.com

Weed Eater Gas Hedge Trimmer | GHT180 | eReplacementParts.com

How to rebuild a line trimmer carburetor | Repair guide

How to rebuild a line trimmer carburetor | Repair guide

16 FS 85 ideas | stihl, 85th, diagram

16 FS 85 ideas | stihl, 85th, diagram

Weed Eaters, easy carburetor fix - YouTube

Weed Eaters, easy carburetor fix - YouTube

Craftsman weed wacker #358781070 how to adjust high,low - Fixya

Craftsman weed wacker #358781070 how to adjust high,low - Fixya

Weed Eater XT 40 T - Weed Eater String Trimmer Carburetor ...

Weed Eater XT 40 T - Weed Eater String Trimmer Carburetor ...

WeedEater (Poulan) not pumping fuel after primer bulb ...

WeedEater (Poulan) not pumping fuel after primer bulb ...

Poulan / Weed Eater Motorsägen 5200 - Poulan Chainsaw ...

Poulan / Weed Eater Motorsägen 5200 - Poulan Chainsaw ...

How to replace Craftsman Weed Eater fuel lines?

How to replace Craftsman Weed Eater fuel lines?

HURI Carburetor with Adjustment Tool Kit Screwdriver for ...

HURI Carburetor with Adjustment Tool Kit Screwdriver for ...

Carburetor diagram tecumseh - Schematic diagram | Tecumseh ...

Carburetor diagram tecumseh - Schematic diagram | Tecumseh ...

SOLVED: I NEED A DIAGRAM OF THE FUEL LINE TO THE - Fixya

SOLVED: I NEED A DIAGRAM OF THE FUEL LINE TO THE - Fixya

I have a Craftsman wheel trimmer and need a diagram of the ...

I have a Craftsman wheel trimmer and need a diagram of the ...

Weed Eater GTI17T Gas Trimmer

Weed Eater GTI17T Gas Trimmer

How to rebuild a line trimmer carburetor | Repair guide

How to rebuild a line trimmer carburetor | Repair guide

Weed Eater GBI22 Gas Blower

Weed Eater GBI22 Gas Blower

Poulan TT-20 Gas Trimmer Parts Diagram for CARBURETOR WA-11 ...

Poulan TT-20 Gas Trimmer Parts Diagram for CARBURETOR WA-11 ...

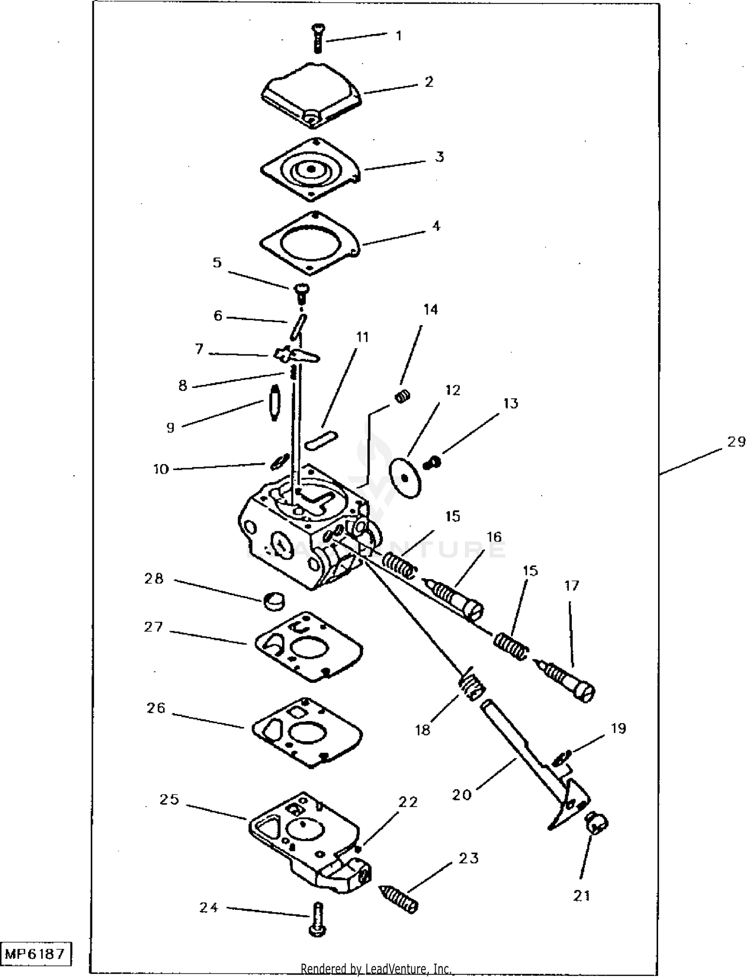
John Deere 240G STRING TRIMMER -PC2218 CARBURETOR: 240G ...

John Deere 240G STRING TRIMMER -PC2218 CARBURETOR: 240G ...

Poulan YP150 Gas Trimmer Parts Diagram for CARBURETOR BREAKDOWN

Poulan YP150 Gas Trimmer Parts Diagram for CARBURETOR BREAKDOWN

Makita Trimmers EM2650LH (2014) - iFixit

Makita Trimmers EM2650LH (2014) - iFixit

GLiving 8 Pcs Carburetor Adjustment Tool Kit for for Common 2 Cycle Small  EngineTrimmer Weed Eater Chainsaw

GLiving 8 Pcs Carburetor Adjustment Tool Kit for for Common 2 Cycle Small EngineTrimmer Weed Eater Chainsaw

Weed Eater Gas Trimmer | Featherlite | eReplacementParts.com

Weed Eater Gas Trimmer | Featherlite | eReplacementParts.com

0 Response to "43 weed eater carb diagram"

Post a Comment

Iklan Atas Artikel

Iklan Tengah Artikel 1

Iklan Tengah Artikel 2

Iklan Bawah Artikel