42 wiring diagram for whirlpool dryer
Wiring Diagram Of Whirlpool Dryer - Wiring Diagram and ... whirlpool dryer schematic the master sample wiring diagrams duet gew9250pw0 resurrection electric diagram residential auto dry cycle appliance aid frigidaire gas won t heat tried models wed7300xw0 kenmore clothes for a no repair guide connecting old motor to 120volt disassembly corporation geq9800lw1 parts list pdf replace 279838 heating element … Wiring Diagram Of Whirlpool Dryer - Wiring Diagram Line Whirlpool Wgd6400sw1 User S Manual Manualzz. Whirlpool dryer schematic the master sample wiring diagrams duet gew9250pw0 resurrection electric diagram residential auto dry cycle appliance aid frigidaire gas won t heat tried models wed7300xw0 kenmore clothes for a no repair guide connecting old motor to 120volt disassembly corporation geq9800lw1 parts list pdf replace 279838 heating element ...
Whirlpool Cabrio Dryer Wiring Diagram A Whirlpool clothes dryer repair manual to help diagnose and troubleshoot your clothes taking too long to dry, electrical and timer problems, gas burners and. wiring schematic for whirlpool dryer MN: WEDSWO - Whirlpool Cabrio Cu. Ft.

Wiring diagram for whirlpool dryer
Whirlpool Duet Dryer Heating Element Wiring Diagram Just make sure the solid red wire and the red with white connect to the element. I have provided you with the wiring diagram below. Please let me know if you need further assistance on the repair of the dryer. Whirlpool Duet Dryer Diagram Parts. Some parts shown may not be for your model. Whirlpool Ler4634jq1 Heating Element Wiring Diagram Just make sure the solid red wire and the red with white connect to the element. I have provided you with the wiring diagram . The heating element must have Line one (L1) and Line two (L2) voltage supplied to it or it will not get hot. The heating element must also have continuity when tested with an ohm meter. Whirlpool Dryer Timer Wiring Diagram - justussocializing.org The best unconventional is always to use a verified and accurate Whirlpool Dryer Timer Wiring Diagram that's provided from a trusted source. A good, usual company that has a long track stamp album of providing the most up-to-date wiring diagrams welcoming is not difficult to find.
Wiring diagram for whirlpool dryer. Dryer Cord Wiring Diagram Amana Electric Dryer Wiring Diagram Wiring Library Diagram Ge Refrigerator Baseboard Heater. Wiring schematic for whirlpool dryer MN. Lg Wd 8040 Wiring Diagram Krsvm000006476 Service Manual Schematics Eeprom Repair Info For Electronics Experts. Ac Works 1 5 Ft 4 G Dryer Plug To 3 Female Connector Adapter S14301030 018 The. Whirlpool Dryer Wiring Diagram Manual | Wiring Diagram ... whirlpool dryer wiring diagram - You'll need a comprehensive, skilled, and easy to understand Wiring Diagram. With such an illustrative guide, you'll be capable of troubleshoot, prevent, and full your assignments easily. Wiring Diagram For Whirlpool Estate Dryer - Wiring Diagram ... estate dryer whirlpool repair not running guide schematic the master mo no teds840pq0 heating eed4400wq0 partswarehouse sample wiring diagrams residential tgds840pq1 electric leq9030pq1 leb6400kq1 parts list pdf replace 279838 element clothes disassembly 4 wire power supply cord for a timer 3393934e model w10185979 diagram belt on models dryers … WIRING DIAGRAM HELP Whirlpool dryer - Appliance Repair ... AppliancePartsPros.com » Appliance Repair Help » Dryer Repair » WIRING DIAGRAM HELP Whirlpool dryer. New Topic Post Reply: WIRING DIAGRAM HELP Whirlpool dryer. Options. Model: LEC7848DQ0: Brand: Whirlpool: Age: More than 10 years: Previous Topic Next Topic: joek59 #1 ...
Wiring Diagram For Whirlpool Duet Dryer Heating Element Note: This video is intended to give you the general idea of the part replacement procedure.5/5 (34). Wiring Diagram For Whirlpool Duet Dryer Heating Element The most common heating element found on Whirlpool dryers is part number , First before working on the dryer, you will need to unplug and remove the The timer, motor, and bad. whirlpool wiring diagrams - Wiring Diagram and Schematic Role Wiring Diagram Whirlpool Corporation Washing Machines Clothes Dryer Png 575x731px Area Artwork Black And Sample Dryer Wiring Diagrams Appliance Aid Wiring Diagram Gas Dryer Models Whirlpool Thin Twin User Manual Page 36 40 Wiring Diagram For Whirlpool Top Loader Applianceblog Repair Forums Whirlpool Dryer Belt Tensioner Diagram - Diagrams : Resume ... Kenmore Elite Dryer Electrical Diagram. Kenmore Elite Dryer Wiring Diagram. Kenmore Elite Gas Dryer Wiring Diagram. Wiring Diagram For Kenmore Dryer Model 110. Kenmore Electric Dryer Model 110 Wiring Diagram. Kenmore Elite Dryer Heating Element Wiring Diagram. Fan Belt Diagram For 5.7 Hemi. Whirlpool Dryer Wed5100Vq1 Wiring Diagram | Manual E-Books ... whirlpool dryer wiring diagram - You will want a comprehensive, expert, and easy to comprehend Wiring Diagram. With this kind of an illustrative manual, you are going to have the ability to troubleshoot, prevent, and total your projects without difficulty.
Whirlpool Dishwasher Wiring Diagram Roger Vivi Ersaks 2005 Chevy Tahoe Starter Wire Diagram Whirlpool 4317943 Whirlpool Icemaker Kit (AP2984633 Made by Whirlpool. Fits many brands. This icemaker replaces most Whirlpool, Kitchen Aid and Sears Kenmore (with model prefix 106) brand icemakers. Kit includes wiring harness, mounting hardware and instructions. No longer includes bail arms. Whirlpool Washer Electrical Wiring Diagram - IOT Wiring ... Wiring Diagram Whirlpool Corporation Washing Machines Clothes Dryer Png 575x731px Area Artwork Black And How To Read Wire Diagrams Applianceassistant Com 3 Simple Ways To Bypass The Lid Lock On A Whirlpool Washer Zsi Washing Machine Wiring Diagram Service Manual Error Code Circuit Schematic Schema Repair Instruction Guide User Free Pdf Wiring Diagram for Whirlpool Dryer Heating Element Gallery ... Please download these wiring diagram for whirlpool dryer heating element by using the download button, or right visit selected image, then use Save Image menu. What is a Wiring Diagram? A wiring diagram is a straightforward visual representation from the physical connections and physical layout of your electrical system or circuit. Whirlpool Cabrio Dryer Wiring Diagram - schematron.org Whirlpool Cabrio WEDS Manual Online: Wiring Diagrams & Strip Circuits, STRIP CIRCUITS Electric Dryers WIRING DIAGRAMS SINGLE ELEMENT L1 LINE - BK VOLTS Dryer Whirlpool Cabrio WA Use & Care Manual. Whirlpool Cabrio Dryer Wiring Diagram. November 5th, Whirlpool Cabrio Dryer Wiring Diagram. Image Info. File Name.Download Whirlpool Dryer PDF manuals.
PDF ELECTRIC DRYER INSTALLATION INSTRUCTIONS - Whirlpool The green ground wire of the 4-wire power cord must be secured to the dryer cabinet with the green ground screw. If local codes do not permit the connection of a neutral ground wire to the neutral wire, see "Optional External Ground for 3-Wire Connection" in the "Power Supply Cord Connection" section.
Wiring Diagram Bosch Dryer This entry was posted in dryer repair wiring diagrams and schematics on november 30 2010 by samurai appliance repair man. Enclosed here is a wiring diagram for your dryer. Bosch tumble dryer wiring diagram. By Irish Bella December 11 2021.
Whirlpool Wiring Diagrams - IOT Wiring Diagram Whirlpool Dishwasher Schematic The Master Samurai Tech Academy. Sample dryer wiring diagrams whirlpool duet gew9250pw0 resurrection schematic the master diagram corporation gas models for top loader fefl88acc electric range gh4155 microwave oven schematics 8577781 washer drawing kenmore clothes wed5300sq0 maytag heritage failure codes appliances door ice maker dishwasher motors looking 27 thin ...
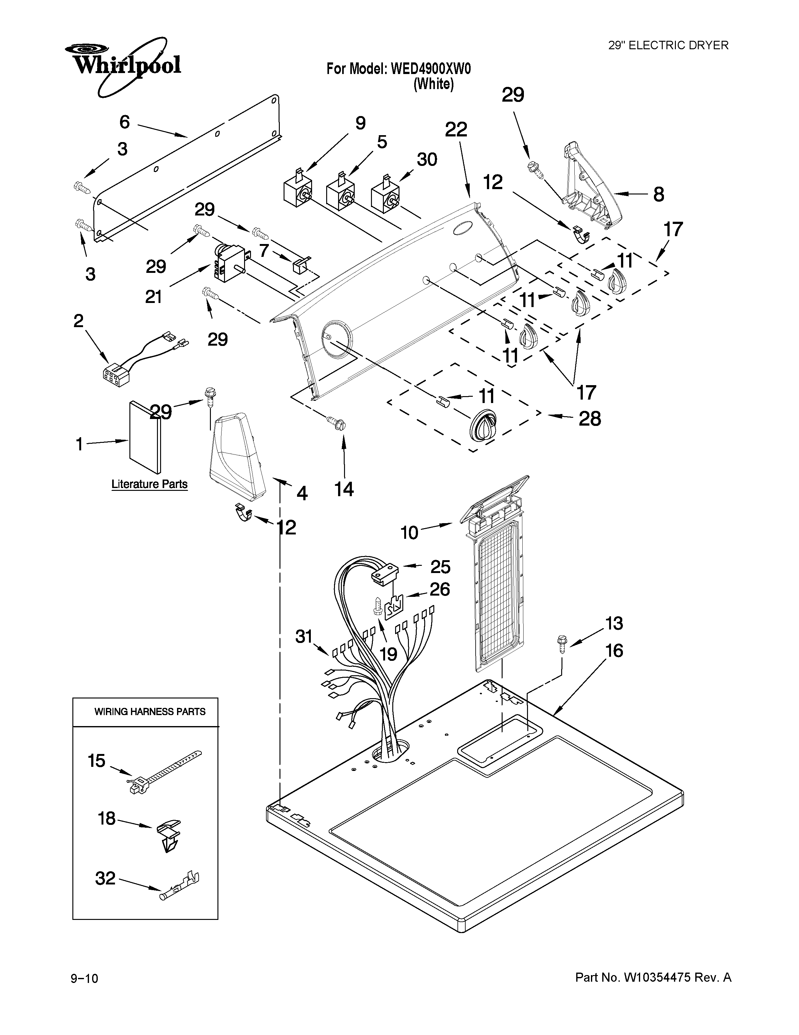
Wiring Diagram Whirlpool Cabrio Dryer - Wiring Diagram and ... Washing Machines Whirlpool Corporation Kenmore Clothes Dryer Wiring Diagram Png 575x804px Black And White Whirlpool Residential Dryer Wed6200sw1 Ereplacementparts Com Whirlpool Wed7300xw0 27 Electric Dryer Parts And Accessories At Partsehouse Whirlpool Clothes Dryer Disassembly Guide
Whirlpool Dryer Model LE5800XSW3 Wiring Diagram | Fixitnow ... Whirlpool Dryer Model LE5800XSW3 Wiring Diagram Model number variations: LE5800XS, LE5800 (click to enlarge) To learn more about your dryer, or to order parts, click here. This entry was posted in Dryer Repair, Wiring Diagrams and Schematics on October 9, 2010 by Samurai Appliance Repair Man .
Wiring Diagram Whirlpool Cabrio Dryer - Irish Connections Washing Machines Whirlpool Corporation Kenmore Clothes Dryer Wiring Diagram Png 575x804px Black And White Whirlpool Residential Dryer Wed6200sw1 Ereplacementparts Com Whirlpool Wed7300xw0 27 Electric Dryer Parts And Accessories At Partswarehouse Whirlpool Clothes Dryer Disassembly Guide
Sample Dryer Wiring Diagrams - Appliance Aid ApplianceAid.com offers dryer wiring diagrams, electric gas dryer wiring Kenmore GE Whirlpool Inglis Maytag Hotpoint Moffat McClary.
Kenmore Dryer Motor Wiring Diagram - Wiring Diagram Online Wiring Diagram For Kenmore Elite Electric Dryer Diagram Electric Dryers Gas Dryer Kenmore . Pin On Wiring Diagram Free . 12 Kenmore 90 Series Electric Dryer Wiring Diagram Electric Dryers Washing Machine Motor Whirlpool Washing Machine . Wiring Diagram Of Washing Machine Timer Bookingritzcarlton Info Washing Machine Motor Automatic Washing ...
electric dryer wiring diagram for whirlpool dryer heating ... Estate Mo No Teds840pq0 Dryer Heating Element Replacement Ifixit Repair Guide. Need The Wiring On Heating Element Model Gew9200lw1 Dryer Whirlpool
Gew9200lw1 Wiring Diagram - schematron.org whirlpool dryer heating element wiring diagram inspiration inside. fancy whirlpool dryer gewlw1 wiring diagram image collection exelent. Original, high quality parts for Whirlpool GEWLW1 Dryer in stock and ready to find parts Whirlpool GEWLW1 is by clicking one of the diagrams below. for GEWLW1 and our expert installation videos for GEWLW1 below.
Whirlpool Electric Dryer Wiring Diagram Collection ... Please download these whirlpool electric dryer wiring diagram by using the download button, or right click selected image, then use Save Image menu. Wiring diagrams help technicians to determine what sort of controls are wired to the system. Many people can read and understand schematics generally known as label or line diagrams.
Whirlpool Dryer Timer Wiring Diagram - justussocializing.org The best unconventional is always to use a verified and accurate Whirlpool Dryer Timer Wiring Diagram that's provided from a trusted source. A good, usual company that has a long track stamp album of providing the most up-to-date wiring diagrams welcoming is not difficult to find.
Whirlpool Ler4634jq1 Heating Element Wiring Diagram Just make sure the solid red wire and the red with white connect to the element. I have provided you with the wiring diagram . The heating element must have Line one (L1) and Line two (L2) voltage supplied to it or it will not get hot. The heating element must also have continuity when tested with an ohm meter.
Whirlpool Duet Dryer Heating Element Wiring Diagram Just make sure the solid red wire and the red with white connect to the element. I have provided you with the wiring diagram below. Please let me know if you need further assistance on the repair of the dryer. Whirlpool Duet Dryer Diagram Parts. Some parts shown may not be for your model.
0 Response to "42 wiring diagram for whirlpool dryer"
Post a Comment